北京纬铂创动科技服务有限公司

服务热线
010-50960020
智慧创造价值
      知识成就未来

万圣节开心捣蛋!带你看美国逗乐专利

原创作者 Gin 10月30日

timg.jpg

在全球疫情都在好转的情况下,美国的疫情似乎还在高歌猛进,然而美国人民已经不再在乎新的确诊数字,甚至他们也不再关心正在如火如荼中进行的总统大选。实际上,相当一部分美国民众已经完全被接下来的一个重要节日吸引住了,那就是万圣节。

不给糖就捣蛋

永远不要低估美国民众对万圣节的热情。而在今年被迫在家隔离、在外保持社交距离的情况下,民众的热情稍有冷却,但依然火热。家住洛杉矶的卡文和崔福斯两口子竟然还因为自家的万圣节布置过于真实而被多名路人打911报警。

001.jpg

关于万圣节的起源说法不一,多数认为这是凯尔特人的传统节日。凯尔特人认为十月的最后一天是秋天的终结,冬天的开始,称其为“鬼节”。相传这一天各种恶鬼出没,死去的人们灵魂也会离开引荐,在世间游走,因此这天晚上也就格外危险。为了吓走邪恶的鬼魂,凯尔特人会戴上面具在村中游走。这也是万圣节化妆打扮的来源。而给予糖果的风俗则是因为当时欧洲大陆有为亡者布施糖果的习惯,接受者则答应以“为亡者祈祷”汇报。

需要注意的是,墨西哥亡灵节庆祝时间紧跟万圣节,不过纪念方式不同,多为搭建私人祭坛,摆放糖果、万寿菊和逝者省钱喜爱的食物进行祭奠的方式。

002.jpg

*2017年上映的《寻梦环游记》讲的就是发生在墨西哥亡灵节的故事

现在,万圣节沦为纯粹的商家节日,各路商贩苦思冥想如何掏空消费者的荷包,也因此诞生了不少有意思的玩具和设计。今天小编就带大家来看几个万圣节的特色专利”

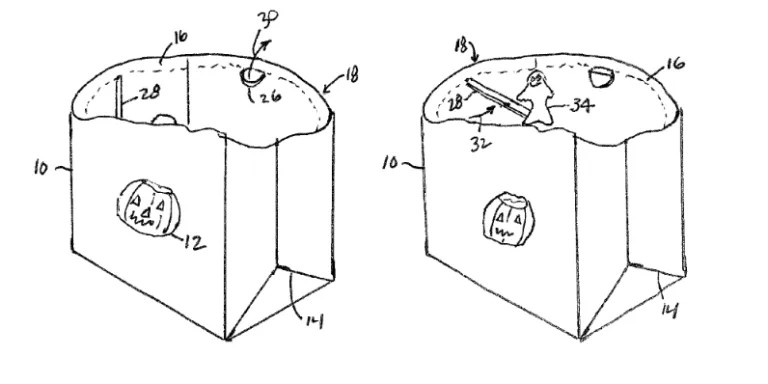
US10364068中所设计的小机关可以用在装饰物或者糖果包装上,这种弹出结构在使用时会将装饰物从袋子内的隐藏位置弹到清晰可见的位置。其亮点在于所采用的可弯曲原型带,圆形带固定在袋子顶部的套筒内,并附接有手指舌片,在枢轴柱的一段上固定有装饰物。当操作手指舌片时,绑带会扭转,从而将枢轴柱和装饰物从隐藏位置旋转到可见位置。

003.jpg


US7594669中公开了一种带盖子的糖果罐。在背景介绍中,发明人写道:“通常儿童将汤锅放在容器中,例如……背包,枕套,甚至是流行的塑料南瓜桶。随着糖果数量的增加,容器变得很重,并且难以随身携带或运输。另外,传统容器没有盖子,无法防止糖果调出或被雨水等天气因素损坏。”糖果罐本身并没有什么特别的,你可以想象成是一个南瓜形的简易小拖车。不过从这个专利我们可以一窥万圣节对美国的重要性,毕竟看来刮风下雨都不能熄灭孩子们出去要糖吃的热情。


004.jpg

US6619810就更有意思了,发明本身不值一提,仅仅是个能在黑暗中发光的南瓜手提袋,其强调自己是“a Halloween design”并在2003年9月16日获得专利。当你惊讶于这么简单的设计也能获得专利时,你会更惊讶于这个专利的分类竟然是“光源或光源支架和发光材料(Light source or light source support and luminescent material)”。从这个有趣的专利中我们可以明白一点:没有接受过专业训练的发明人或者专利申请人很难通过自己的检索搜寻到相关的专利参考文献。而这也是专业的专利工作人员的价值所在。

005.jpg

最后祝大家万圣节快乐

别忘了吃糖后刷牙哦


智慧创造价值    知识成就未来
北京纬铂创动科技服务有限公司
服务热线:010-50960020
联系地址:北京市丰台区卢沟桥乡万丰路318号院
              万丰科技创新中心3号楼1层
官方微信号